| 產品描述 | 技術參數 | 包裝參數 | 技術文檔 | |||||
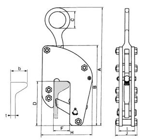
【產品名稱】VB-103型三木鋼板鉗(VB-103型球平鋼吊具) 【產品品牌】日本NETSUREN三木品牌 【產品規格】0.5T~3T 【品牌承諾】保質一年,日本原裝進口,如有假貨以產品貨值百倍賠償! 【應用領域】造船廠、橋梁、土建、機械加工、電廠、鋼結構安裝等領域球平鋼鋼板吊裝
●VB-103型三木鋼板鉗為球平鋼專用夾具,采用高強度合金鋼鍛造,加熱工藝處理,自重輕,堅固耐磨; ●VB-103型球平鋼吊具與豎吊鋼板鉗具備相似功能,可升高、提升和倒置; ●VB-103型三木鋼板鉗設有安全鎖扣,安全系數高,可多只組合使用;
|
||||||||
|
相關產品
|








