| 產品描述 | 技術參數 | 包裝參數 | 技術文檔 | ||||||
【產品名稱】HB300GKNF8小型配重起重機(Hydrobull小型液壓小吊車) 【產品品牌】德國HydroBull 【產品規格】300kg 【產品保質】保質兩年 【產品認證】符合 Euronorm 2006/42/EC 和 DGUV68 【品牌資訊】德國HydroBull品牌詳情 【典型應用】 天花板的維護,汽車制造、機械制造、裝配等車間及倉庫的吊運及裝卸等場合
德國HydroBull HB300GKNF8小型配重起重機為德國原裝進口產品,保質2年,我公司承諾凡是客戶在我公司定購的進口類產品均為原裝正品,絕不存在拆件貨,換件貨,假冒品牌產品,凡客戶從我公司定購德國HydroBull品牌產品如收到貨物時發現有拆件貨,換件貨,假冒、假貨仿貨均以100倍金額賠償。
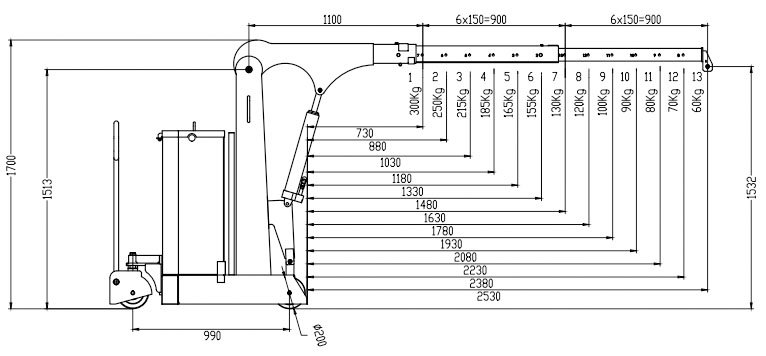
●HB300GKNF8小型配重起重機擁有13個懸臂位置,可以提供很長的延伸和升降高度 ●HB300GKNF8小型液壓小吊車后置底盤帶有配重箱,可直接接近負載和機器 ●德國hydrobull起重機使用壽命長,至今仍為30-40年前的起重機提供配件 ●德國hydrobull配重小型液壓小吊車配備了簡單的緊湊型液壓系統和簡單的手動轉向手柄
〖提升〗高質量的鍍鋅DIN 安全旋轉鉤,使用簡單的手動雙作用緊湊型液壓系統。 〖下降〗通過將泵提升擴展器插入釋放銷上并旋轉。 銷子有一個復位彈簧,以防止意外下降。 〖駕駛〗手動拉動并推動轉向手柄。 控制手柄的旋轉角度幾乎為180度,這使得起重機幾乎可以在其前輪上旋轉,從而產生較小的旋轉圓周。 〖停車〗機器沒有鎖定裝置,我們提供了可選的額外付費鎖定裝置,該裝置訂購后,將在出廠前安裝。 〖臂〗具有13個設置,可以使用插座插針系統通過兩個獨立的鍍鋅懸臂輕松選擇。 |
|||||||||
|
相關產品
|










